Texas Instruments INA592 E-Trim Difference Amplifiers
Texas Instruments INA592 High-Precision, Wide-Bandwidth E-Trim Difference Amplifiers consist of a precision operational amplifier (op amp) and a precision resistor network. The INA592 offers excellent tracking of resistors (TCR) and maintains gain accuracy and common-mode rejection over temperature.The devices provide unique features such as low offset 40µV (maximum), low offset drift (2µV/°C maximum), high slew rate (18V/µs), and high capacitive load drive of up to 500pF. These features make the INA592 ideal for high-voltage industrial applications. The INA592 enables operation in single-supply applications via the common-mode range of the internal op amp that extends to the negative supply. The device can operate on single (4.5V to 36V) or dual supplies (±2.25V to ±18V).
The INA592 provides a difference amplifier for the foundation of many commonly used circuits without using an expensive precision resistor network. The Texas Instruments INA592 is specified for operation over the extended industrial temperature range of –40°C to +125°C and is available in an 8-pin VSSOP surface-mount package.
Features
- 40μV (maximum) low offset voltage
- ±2μV/°C (maximum) low offset voltage drift
- 18nV/√Hz at 1kHz low noise
- ±0.03% (maximum) low gain error
- 88dB (minimum) high common-mode rejection
- 2MHz GBW wide bandwidth
- 1.1mA per amplifier low quiescent current
- 18 V/μs high slew rate
- 500pF high capacitive load drive capability
- Wide supply range
- Single-supply: 4.5V to 36V
- Dual-supply: ±2.25V to ±18V
- –40°C to +125°C specified temperature range
- 8-pin VSSOP package
Applications
- AC drive position feedback
- Servo drive position feedback
- Condition monitoring (voltage, current)
- Protection relays
- Power supply modules
- Differential to single-ended signal conversion
- Instrumentation amplifier building block
- G = 1/2 amplifier
- G = 2 amplifier
- Automatic test equipment
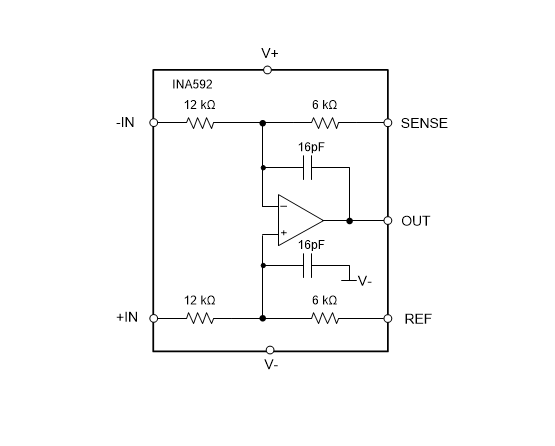
Functional Block Diagram
